- 全國服務熱線:400-0533-979
- 電話:0533-4820001 4820020
- 傳真:0533-4824766
- 地址:淄博市博山區崮山鎮
- 郵編:255200
- 郵箱:wanbokehai@163.com
- 網址:http://m.pastredemptionseries.com
產品名稱:ZX自吸泵

ZX自吸泵
自吸泵是屬自吸式離心泵,它具有結構緊湊、操護方便、運行平衡、維修方便、效率高、壽命長、并有較強的自吸能力等優點。管路中不需安裝底閥,工作前只需保留泵體內儲有定量引液即可,因此簡化了管路系統。
ZX系列自吸泵是根據國內外有關技術資料經吸收、消化、改進后研制而成的節能泵類產品。該泵屬自吸式離心泵,它具有結構緊湊、操作方便、運行平穩、維護容易、效率高、壽命長,并有較強的自吸能力等優點。管路中不需安裝底閥,工作前只需保證泵體內儲有定量引液即可。因此簡化了管路系統。
型號意義:
使用范圍:
1、適用于城市建筑、消防、化工、制藥、染料、印染、釀造、電力、電鍍、造紙、石油、礦山、設備冷卻、油輪卸油等。
2、適用于清水、海水及帶有酸、堿度的化工介質液體和帶有一般糊狀的漿料(介質粘度≤100厘珀、含固量可達30%以下)。
3、裝上搖臂式噴頭,又可將水沖到空中后,散成細小雨滴進行噴霧,是農場、苗圃、果園、茶園的良好機具。
4、 可和任何型號、規格的壓濾機配套使用,將漿料送帶濾機進行壓濾的配套泵種。
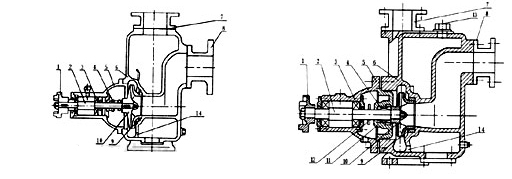
結構說明:
|
1 |
聯軸器 |
2 |
泵軸 |
3 |
軸承 |
4 |
機械密封 |
5 |
軸承體 |
6 |
泵殼 |
7 |
出口座 |
|
8 |
進口座 |
9 |
前密封環 |
10 |
葉輪 |
11 |
后蓋 |
12 |
擋水圈 |
13 |
加液孔 |
14 |
回液孔 |
性能參數:




當前所在位置:

